ロボット・トライアスロン 競技ルール

2006年度版 (2006/7/18 公開,8/28 更新)
 ロボットトライアスロンは自律型ロボットがライントレース、迷路、標的倒しの3種目を連続して行う競技です。競技の順位はコースを走行するのにかかった時間で競います。
 競技コースの形状、および競技の種目順は、開催地の競技運営委員が会場に合わせて設定できるものとしますが、以下のルールは守ることとします。
1.競技コースと競技内容
 競技コースはターポリンシート(注)をつないで作ります。ロボットは、このコース上で走行しなければなりません。コースの始めと終わりは幅18mm の黒色ビニールテープ(つやあり)で区別されています。
 注:ターポリンシート((株)テラモト製,規格 KT-4200,厚さ 0.42mm,材質 塩化ビニール,色 薄緑,つや消し面が走行面)
 競技に参加できるロボットには、車輪型の自律移動ロボットである限り、寸法や重量に特別な制限は設けないことにします。ただし、ロボットの移動性能によりカテゴリを設けていますので,次の条件に従って,いずれかのカテゴリーでエントリーして下さい。1チームがエントリできるロボットは全カテゴリを通じて1台だけです。
ノーマル 移動機構に標準ロボットキットのギアボックス((株)タミヤ製6速ギヤボックスHE)を使用しているロボット。
なお、ギアボックスへの軽微な改造を施したロボット、同等性能のギアボックスを使用しているロボットもこのカテゴリーに分類する。
オープン ノーマル以外の移動機構を有するロボット。
競技内容は次のとおりです.
1-1 ライントレース種目
ライン ラインは幅18mm の黒のビニールテープです。ラインは直線や円弧などの組み合わせで構成します。
走行領域 ラインの中心線の両側は、最小でも220mm ずつの走行領域が確保されていることとします。
競技内容 ライントレース種目領域のスタート位置からゴール位置までの走行時間を競います。
1-2 迷路種目
厚さ50mm, 高さ150mmのスタイロフォームで壁を作ります.
入口 迷路の入口の床面に,コースに直角な直線を,幅18mm の黒のビニールテープで引きます.
出口 壁が無くなったところが出口です.迷路内の出口付近にはライントレースの線が延長されています.
仕切り壁 エリア内にしきり壁が2つあります.
通路 少なくとも直径30cmの円盤が通過できるような通路とします.
競技内容 迷路エリアに,入口から侵入し,出口から出て下さい.途中であきらめることも可能ですが,その場合はあきらめた場所から出口までの大まかな距離に従ってペナルティーを科します.壁や障害物を動かしたり,壊したりした場合もペナルティを科します(図2参照,実際のコースとは若干異なります).
障害物 2つの仕切り壁の間に直径125mm,高さ150mm 程度の障害物が3つあります.色は黄色です.ロボットが動かしたり,持ち上げることのできない程度の重量です.競技開始前に位置を決めます.
1-3 標的倒し種目
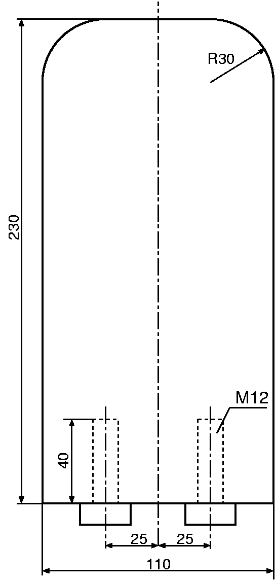
標的 幅110mm, 高230mm, 奥行30m のスタイロフォームの底に,M12のボルト2本を下から差し込み,ボルトの頭で立つように設置します.上部を押すと倒れます.エリア上の標的は2個で,エリアの左側と右側に置きます.
設置形態 標的の周囲は図のようにガードが設置されています.ガードを固定するためにベース板に 25mm 厚の鋼材を使用しています。ベース板と標的の位置関係はおおよそ右図の通りです.
ガイドテープ 標的のある方向を示すため、ガイドテープを路面の中央部に,進行方向に対して垂直に貼ります.テープが2本のときには左側に,3本のときには右側に標的があります.テープの長さは500mm,テープの間隔は中心間距離で50mmです.
競技内容 標的を探して倒します.このときガードに衝突してはいけません.
2.得点基準

 開催地の競技運営委員はコースの難易度に合わせて得点基準を設定できるものとします。ロボットの順位は総合タイムで競います.

2-1 総合タイム
走行タイムに,ペナルティタイムを加算し,ボーナスタイムを減じて総合タイムとします。
2-2 走行タイム
コースのスタートから標的倒し開始ラインまでの走行時間を計測し,これを走行タイムとします.
2-3 ペナルティタイム
次の場合,罰則としてペナルティタイムを科します.
2-3-1 コース全域
コースアウトがあった場合,及び,ハンドがあった場合
2-3-2 ライントレース種目
ライン逸脱があった場合
2-3-3 迷路種目
途中で通過をあきらめた場合,及び,壁を動かしたり壊したりした場合
2-4 ボーナスタイム
次の場合,報酬としてボーナスタイムを与えます.
2-4-1 標的倒し種目
標的を倒した場合.ただし,ガードを動かしたり壊したりしてはならない.

注:ハンドとはロボットに触れる行為をいう.

3.コース仕様と得点基準の公表

 ライン形状、迷路、標的などのコース仕様と得点の基準は、少なくとも競技開催日の7日前に公表します。
 なお,迷路内の障害物,標的の位置は競技開始前に決めることにします.

4.失格事項

 ロボットが以下の事項に抵触する場合、競技運営委員または競技審判はロボットの競技参加を拒否あるいは競技を停止させることができます。

4-1 ロボット本体以外の器具や装置を使用して競技した場合
4-2 故意にコースを傷つけたり、汚したりした場合
4-3 観客や周囲に危害を与える装置があると認められたロボットの場合
4-4 ロボットが競技コースから完全に離れたり、動作が完全に停止した場合
4-5 競技会の運営を著しく妨げる場合
4-6 競技運営委員または競技審判が、失格事項に相当すると認めた場合

(C) ロボット・トライアスロン運営委員会 2006年 8月 28日 月曜日 更新