
上の図に示すような,ロータリーエンコーダ用のディスクを2個製作します.旋盤が使える環境にある方は図を参考に旋盤を使って製作されても結構です.
以下に示す方法は,特別な工作機械を持たない方々が自律移動ロボット作りに挑戦しようとするときに使える方法で,ペンチ,平ヤスリ,カッターナイフ,ビニールテープがあればOKです.
Ver.3のキットでは真鍮製の釘から2mm径シャフトを製作していましたが,Ver.4のキットでは2mm径のシャフトの製作は必要ありません.Ver.4のキットには写真のようなビニルクリップがキットに同梱されています.プラスチックの部分と金属の部分はねじになっていますので,金属の部分を取り外せばシャフトとして使えます.

カッターナイフかニッパーを使って円形アームのまわりのバリと突起を取り除き,きれいな円形に仕上げて下さい.(バリや突起が残っていると偏心した質量による遠心力によってディスクが振動しモータの回転を正確に計測できないことがあります.)


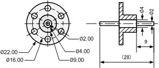
幅5mmほどに切ったビニールテープをビニルクリップから取り外したシャフトのねじ側に一巻きだけ巻きつけて,シャフトの径を一回り太くすると,円形アームの内径(4mm)にピッタリと合うようになります.
円形アームにシャフトにテープを巻いたところを圧入する(押し込む)だけで簡単にエンコーダディスクが製作できます.

